类别:足球赛事 发布时间:2026-04-20 10:56:30 浏览: 次
足球直播,欧洲杯直播,体育直播,球客直播,雷速体育,篮球直播,风驰直播,NBA直播,英超直播,足球比分,足球赛事,意甲,欧冠,世界杯,世界杯直播,村超,贵州村超,波胆,角球,串球,大小球师生朋友们,尤其是热爱足球与体育的男同胞们! 热血沸腾的足球盛典来了!!!
备受关注的苏超(江苏省城市足球联赛)赛事将于4 月 11 日开赛,常规赛持续至 9 月 19 日;川超(四川省城市足球联赛)目前也正处于总决赛阶段,赛事于 2026 年 3 月 13 日开幕,计划持续至7 月 4 日结束。两大赛事接踵而至,绿茵场上的热血与呐喊,即将点燃整个春夏。
回顾2025年的夏天,“苏超”第五轮首场比赛由常州队对战南京队,吸引超3.6万名观众现场观看,其中省外观众突破万人。
在“苏超”爆火初期,由于商标和著作权布局滞后,市场上曾充斥着大量未经授权的“野生”周边。从“叫南哥”“友谊第十四”帆布袋到“苏嘟嘟十三太保”毛绒玩具,三方商家赚得盆满钵满,而官方却面临品牌稀释的风险。
针对网上热卖的“叫南哥”帆布包,经过国家知识产权局商标网检索,发现“叫南哥”商标已被多位不同的申请人申请注册,且均和苏超赛事主办方无关,目前均已被驳回
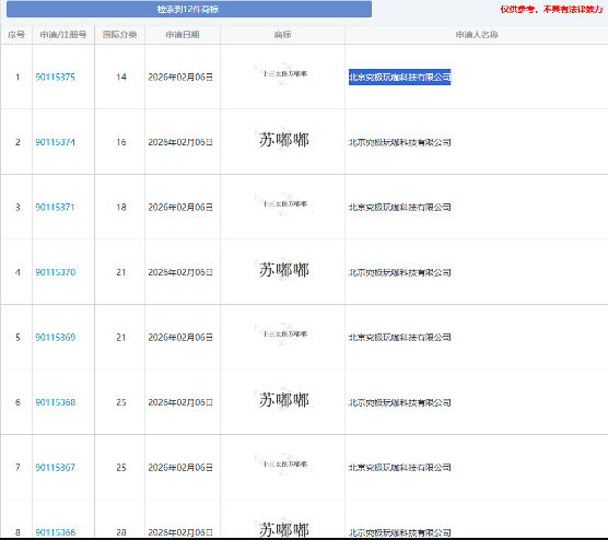
苏超吉祥物名字“苏嘟嘟”,被“北京究极玩咖科技有限公司”申请在多个类别注册,更为棘手的是注册时间早于“苏嘟嘟”的发布时间,如对该商标提出异议的话,赛事主办方还需要提供更为有力的证据。
此外,“浪里马”也被抢注过,该行为被淮安市知识产权保护中心认定为“蹭热点、抢注之嫌”,经工作人员宣讲后,申请人已主动撤回该商标申请。
这些案例共同指向一个残酷的真相:体育赛事的现金价值,不能仅看到眼前的门票和转播费,还要看到商标、版权、专利带来的长远利益。商标、版权、专利就像一条条“护城河”,河没挖好,水就会流到别人的田里。
对正在火爆进行的苏超、川超体育赛事而言,这九个字不是口号,而是行动指南:在开赛哨响之前,商标注册就该“各就位”;在周边热销之前,版权授权就该“预备”好;在下一个爆款昵称诞生之前,创新保护就该跑在蹭热度前面。
校园里的球迷们,当你们为心爱的球队呐喊时,不妨也多留一个心眼:你身上的球迷T恤、手里的助威毛巾、甚至朋友圈里转发的赛事剪辑,背后都藏着知识产权的学问。尊重原创、支持正版周边,就是对自己热爱的比赛最长情的守护。


